电动车的底,让自己弄掉了

2023-07-08 11:48   108   0  
占位
占位

出品|虎嗅汽车组

作者|李文博

编辑|周到

头图|沸点视频


在经典赛车游戏《马里奥赛车》(Mario Kart)中,有一种令人欲罢不能的比赛模式——道具赛。


在该模式下,你可以一边“飙车”,一边“吃进”各种稀奇古怪的道具,然后在合适的时机,将它们向你的对手大力地扔出去。比如香蕉皮可以让对手天旋地转,炸弹可以让对手原地升天,闪电可以让对手瞬间变小。



看起来很痛快,玩起来很过瘾。


但,如果有一天,游戏场景在现实世界复现,而且就发生在你身边,不知道有多少人对前车投下的“道具”一笑而过。


比如,最近就有一台智能电动车,在成都街头,抛下了它身上最重磅的道具:一包电池。



尽管电动车在过去几年奉献了无数“掉底子”的地狱笑话,但像这样实打实的掉底子,确实是头一回。


虽然网友们纷纷调侃这是“电车最新功能”,“电池故障弹射出仓”、“真正的车电分离”、“12万的车,掉了10万的装备”。但玩归玩,闹归闹,别拿安全开玩笑:电池包在车辆正常行驶,路面没有起伏,底盘没有磕碰的情况下,从底盘脱离,本身就是一件诡异的事。



那么,“事故”背后的原因,到底是电池包工作强度太大,不想干了直接躺平摆烂;还是某家“造车新势力”,正在测试前沿科技“无电行驶”,以便“加速世界向可持续能源的转变”;亦或是车主对车机发布了不当的“语音指令”,导致智能电动车当街表演行为艺术?


下面,让我们走进今天的暗信号,看看电动车的老底,是怎么掉在地上的。



到底谁的锅


先来厘清事实。


根据沸点视频公布的现场画面判断,电池包掉落的车型是今年 3 月发布的、来自曹操汽车品牌旗下的首款车型曹操 60。


图源:懂车帝


这是一款专门为共享出行定制的车型,有两款配置,均搭载来自宁德时代的 51.8 度磷酸铁锂电池。公开信息显示,曹操 60 由曹操出行负责产品定义和智能开发,吉利集团负责整车开发与生产,最大的产品亮点是支持换电,整个换电过程可在 1 分钟内完成。


这个速度有多快呢?看两个数字:中国换电先驱蔚来的二代换电站走完整套流程是 5 分 40 秒,三代换电站缩短 1 分钟到 4 分 40 秒,减去泊车入库时间,换电流程的时间控制在 3 分钟内。


这意味着:一台蔚来换完电,三台曹操已上路。


曹操 60 实现极速换电的背后,是一家名叫易易互联的公司在做技术支撑。这是一家成立于 2016 年、由吉利汽车 100% 控股、专注换电领域的科技创新企业。电池包掉落事件发生后,易易互联发表了情况说明,表示“当时换电站正在进行适配新车型电池安装调试,因工作人员操作疏忽导致电池脱落。”



更进一步的消息是,该车当天在不同换电站之间移动,让各换电站适配电池。没有像日常一样由机器人进行电池的安装,而是由人工进行调试安装。工人在紧固螺栓过程中,手工操作锁紧没做到位,固定螺栓没能发挥作用,判定为特殊情况下的人为失误。



这里的关键词是:螺栓。


目前,市面上主流的换电机构连接路线有两条:卡扣式与螺栓式。


卡扣式路线的代表是奥动新能源,其换电过程是:车辆驶入换电站,底盘电池包精准定位后,分布在电池包两侧,总计 16 个卡扣松开。低电量电池随换电平台下降,被取换电小车运走。在充电平台与满电电池交换,并运送满电电池到电动汽车下方就位。



为了实现更紧固的连接,奥动在电池包上做了两级锁止系统,第一级是利用设置在底盘上的锁止基座,利用锁卡爪将驱动组件与锁止部啮合连接,实现多个锁卡爪锁止于锁轴,确保电池包不会在换电过程中或电动车辆运行过程中脱落,保障车辆运行安全。



第二级是在电池包与车辆接口内,增加了锁止机构,为整体系统再上一道保险。



卡扣式换电技术相对简单,成本低廉,整体流程耗时短,适合对补能时间有极高压缩要求的运营车辆。毕竟多节约一分钟,司机就可能多接到一个单子,多赚一份钱。


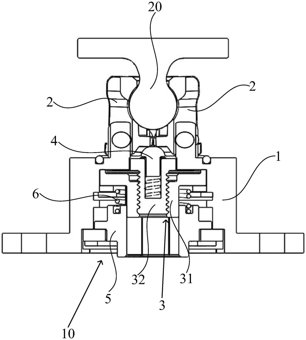
螺栓式路线的代表是大家熟悉的蔚来。在确定采用螺栓式连接前,蔚来的工程团队被”安全、质量、体验“这个机械行业魔鬼三角折磨得非常痛苦:提高可靠性必须拧紧,拧得越紧越影响下次的拆卸方便性;提高拆卸方便性,会影响可靠性;反复装卸也容易造成零件疲劳,降低耐久性。



在敲定螺栓之前,蔚来还尝试过电磁继电器、插销结构、卡接结构、导弹装夹结构等,最终都因为无法满足魔鬼三角而被迫放弃。


可就是这么一枚小小的螺栓,在研发过程中,也让蔚来吃尽苦头。



首先,螺栓结构可以做到连接非常牢固,但无法实现反复使用。二十次装卸复用的螺栓算行业翘楚,但这个数字既不满足2021 年 11 月 1 日开始实施的《电动汽车换电安全要求》国家标准中对螺栓式连接 1500 次换电不出现失效故障和结构损坏的基准要求,也不满足蔚来内部对螺栓 3000 次安全使用的进阶要求。



其次,螺栓连接的受力情况直接和安全挂钩,受力设计不合理,螺栓很容易分离、翘起、滑移、松动。在反复试验了不同布置、不同规格的结构方案后,蔚来最终在电池包上布置了 8 个M18(直径 18 毫米)和 2 个 M10 共 10 颗螺栓,单颗 M18 螺栓的锁紧力可达到 3 吨。


最后,为了让螺栓更加稳妥,蔚来加入了”反向螺纹“,当螺栓松动时,反向螺纹的齿圈会反向锁住,让螺栓和浮动螺母紧固在一起,将所有可能到底电池掉落的风险,一次性清除干净。



螺栓式换电技术复杂,零部件数量多,能承载的电池包重量更大,同时对工程团队的自研能力要求高,且制造、维修、维护成本高于卡扣式换电,更适合用户体量不是非常大,换电服务数量相对不饱和的高端电动车。


回到此次“电池掉底”事件的主角易易互联,该公司曾表示,自己的换电锁止机构兼具“螺栓式”和“挂接式(卡扣式)”的优点,单个锁体能承受 6 吨重量,单个部件接受了超 16000 次的耐久测试,确保十年使用寿命。


从易易互联在 2021 年重庆车展上发布的换电站底座图可知,电池包上单边放了 6 颗,两边总计 12 颗螺栓,再加上单边 5 个,双边 10 个卡扣,总计 22 个锁体结构。那么问题来了:



第一,单个锁体都能承受 6 吨重量,即便工作人员没有把一个或两个紧固螺栓拧到位,剩下的 10 颗螺栓和 10 个卡扣提供的紧固力,会拉胯到让电池包整体掉落吗?


第二,锁体结构没有达到紧固标准,整车自检系统,无论是行驶前,还是行驶中,均未报警,要不是失去动力,驾驶员根本不知道自己的车,发生了如此荒诞的事故;


第三,号称可以全天候无缝监测每台车的生态大数据5G云平台,也并未觉察到电池包状态异常并通过车机向驾驶员发出预警。



人工失误已然发生,车辆自检、云端监测两大安全守门员系统同时失效,三个巧合同时发生在一台车上,多少让人感到有些蹊跷。



丢包保命?


当然,电动车老底掉了这件事,也可以从“高情商”角度进行解读,那就是:电池故障,弹射出仓,为电动车安全,再添一道保障。


这样“舍单体,保全车”的思路,在燃油车时代,是有先例的。


对汽车稍有了解的人都知道,来自瑞典的汽车品牌沃尔沃,在碰撞安全领域有一个“绝招”——丢轮保命。



简单来说,就是在 A 柱下方两侧前防火墙的底部边缘,设置一个高强度的加重部分偏移碰撞(SPOC)金属模块,当车辆遭受撞击时,铁制模块会尽快将前轮削掉,迅速卸力,让车轮从侧方位飞出,避免车轮等零部件入侵乘客舱或动力电池包,从而避免车辆对驾驶员的二次伤害。



对电动车来说,最大的安全隐患来自电池包内热失控引发的自燃。如果车辆可以在监测到电池包状态异常,即将燃烧时,第一时间主动断开底盘和电池包之间的锁体结构,让电池包掉落在地,车体本身在惯性作用下,继续向前行驶十几米,就可以给车内人员更充分的逃生时间。


从落地难度上看,电池弹射更适合支持换电的车型。


首先,分体式结构设计让电池弹射更加简单,弹完了着急的,可以呼叫“一键加电”服务,原地让 fellow 装一个新的电池包,直接开走。


其次,车本体和电池包可以开两张发票,方便报销,弹射成本更低,且不影响二手车残值,实现真正的全生命周期拥车无忧。


这才是真·车电分离。



写在最后


在中国,换电正从少数人享受的“特殊服务”,逐渐进入寻常百姓家。蔚来,北汽、吉利、上汽等汽车公司,宁德时代、奥动新能源、伯坦科技等也开始在换电市场崭露头角。


以现在的眼光看,“电池弹射”很荒诞,但我们也不能因此就对这项技术的可能性,关上探索的大门。要知道,历史上,因为一个“失误”造就出伟大的发明的案例屡见不鲜,比如鲁班就因为手被野草的叶子划破,发明了锋利的锯子。


今天电动车掉在地上的老底,说不定明天就是电动车贴在脸上的面子。

文章引用微信公众号"虎嗅APP",如有侵权,请联系管理员删除!

博客评论
还没有人评论,赶紧抢个沙发~
发表评论
说明:请文明发言,共建和谐网络,您的个人信息不会被公开显示。