被中止续展后,这家支付机构股权遭冻结!

2023-07-25 22:35   148   0  

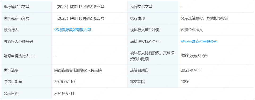
移动支付网7月14日消息,根据(2023)陕0113民初21855号执行裁定书文号等公开信息,亿利资源集团有限公司(以下简称“亿利集团”)成为被执行人,第三方支付机构圣亚云鼎支付有限公司(以下简称“圣亚支付”)则是其中被冻结股权标的企业,冻结日期至2026年7月10日。

公开资料显示,圣亚支付成立于2009年,并于2013年7月6日获得支付牌照,获准经营互联网支付业务,提供的产品包括B2C/B2B网关支付、快捷支付、代收代付等。圣亚支付品牌名为“亿利支付”,并推出面向个人用户的钱包“亿点亿滴”。

值得注意的是,不久前人民银行公布的非银行支付机构《支付业务许可证》续展公示信息(2023年7月第六批)显示,圣亚支付因存在《中国人民银行行政许可实施办法》第二十四条规定的情形,被人民银行决定中止续展申请的审查。

根据该规定,若支付机构因被司法机关侦查,尚未结案,属于存在对行政许可事项影响重大的情形,就会被人民银行作出中止审查的决定。作为被法院冻结股权标的企业,圣亚支付显然属于要被“中止续展审查”的情形。

股权关系显示,圣亚支付为亿利集团旗下控股公司,持股比例分别为70%,亿利集团董事长王文彪通过股权链疑似为圣亚支付的实控人。

亿利集团创立于1988年,其官方介绍为光伏治沙企业、城市生态康养服务商,旗下包含亿利洁能、亿利生态、亿利金融等三个板块产业。亿利集团自2017年以后便不断出现资金紧张信号,比如债券出现技术性违约、创始人出质集团股权。此后,亿利集团便提出处置“小、亏、非”业务,以去重资产重负债,支付机构或许也是其中要被“处理”的部分。

另据中国执行信息公开网信息,亿利集团还有58条被执行记录。

有兴趣加入支付服务商微信交流群,请加群主微信:mpaypass01,备注公司+姓名+职务+代理商入群。

文章引用微信公众号"移动支付网",如有侵权,请联系管理员删除!

博客评论
还没有人评论,赶紧抢个沙发~
发表评论
说明:请文明发言,共建和谐网络,您的个人信息不会被公开显示。