人类擦屁股大全,看完隐隐作痛

2023-06-07 12:22   115   0  


我们都会擦屁股,我们都是屁股的奴隶。


在漫长的岁月中,屁股驯化了人类,成为人类的「主人」。





一切的源头



很久很久很久以前,在广阔的东非大草原上,一位人类祖先正蹲在草丛里。


他感受到了一阵便意......


他的大脑迅速发出指令,在 0.01 秒内抵达直肠,直肠平滑肌收到信号开始收缩,腹内压增大,翔被挤出门外。


此时,肛门括约肌轻轻一夹,咔嚓!断翔落地,十分华丽。


完事后,他没擦屁股,并继续快乐的奔跑。


在夕阳下,他的屁股熠熠生辉。


图片来源:站酷海洛


突然,他感觉自己的屁股有动静!


那是胆汁。


残留在便便中的胆汁,开始蹂躏他屁股上的皮肤。


起初是瘙痒,随后愈演愈烈,奇痒无比,还夹杂着一种火辣辣的灼痛,叫人难以忘怀。



屁股仿佛在告诉他:「小奴才!不伺候好我,我弄不死你......」


屁股的惩罚无人能挡,屁股决定了脑袋。


迫不得已,人类开始认真思考「擦屁股」,并尝试各种方法对屁股温柔。


但这条路,走得并不是顺利......


甚至有点诡异。




开荒时代

万物皆可擦屁股



早期人类,擦屁股的思路比较简单,厕所周围的地上,找到什么用什么......


比如黄土地上随处可见的土坷垃,就是中国古人的擦屁利器。


土坷垃

图片来源:站酷海洛


有经验的老手,能一眼挑出完美的土坷垃,大小契合股沟,没有明显的尖锐,最重要的是足够结实。


如果你运气不好,很可能在擦屁股时「捏爆土坷垃,手指抠到屎」。


几千年来,中国人十分中意土坷垃。


我仿佛知道了神州大地一片沃土的原因......


在世界其他地区,人们的思路也都大同小异。


比如:河边的人用鹅卵石擦屁股,海边的人用贝壳擦屁股,山里的人用苔藓擦屁股,城里人用陶片擦屁股......




但是,这些方法都存在两个致命缺点:


一、作案工具太小,手指容易沾翔。


小心翼翼擦屁股的古希腊人

图片来源:站酷海洛


二、作案工具太硬太粗糙,屁股容易受伤,万一有个痔疮啥的,就死定了。


为了伺候好屁股爹,人类开始了新的革命。





棍状物的时代

直「擦」黄龙



海绵棒,是古罗马人发明的棍状擦屁神器。


海绵棒

图片来源:站酷海洛


它看起来像个大号棉签,一端是柔软的海绵,另一端是 30 厘米的棍子。


不用担心手指沾屎,而且还很软,罗马人简直是天才。


在用法方面,罗马人也很考虑屁股的隐私。


如图:



罗马的公厕一般有上下两个开口。


上面的开口,用来拉臭臭



下面的开口,用来拿海绵棒擦屁股


毕竟,谁都不想当着别人的面,拿棍状物撅自己的屁股。



这听起来很完美是不是?


那你可大错特错了


那时海绵虽然算不上金贵,但如果用一次就扔掉,显然太浪费了,所以......


古罗马人决定:海绵棒反复使用,而且......

要共用!


共用!!!


当然,罗马人会在公厕里挖一条水渠,用来洗刷海绵棒。


我说能洗干净,你信吗......




当时的罗马人,一定常发出这样的感叹:


「前面的老兄,今天......」



相比罗马狠人的骚操作,中国古人就保守得多。


他们用一种叫厕筹的竹制品擦屁股,用一次就折断一节,避免「周而复屎」


只可惜缺点一样明显,就是硬!肛周刮痧了解一下?


看到这你可能会问:


这些擦法看起来都很穷,古代高帅富怎么擦屁股呢?


答:用你根本想不到的方式......




对屁股温柔

对美食残忍



16 世纪的法国作家拉伯雷,在其著作《巨人传》里,描述了一种最高贵、最完美、最方便的绝世擦屁股方法:


「活鹅的脖子」。


Touch of Luxury


法国皇室很快采用了这种方法,并盛赞:


屁股能感受到一种非凡的快感,既有绒毛的柔软,又有鹅的体温,这种温度能穿过肠道,直达大脑。


再也无法直视鸭脖子了


当然,在暴殄天物方面,英国皇室也不甘示弱。


他们采用刚刚打捞的新鲜「鲑鱼片」擦屁股,据说可以除臭和消痔。



再也无法直视刺身了


而差不多同一时期的中国皇族,如朱元璋,已经用上带有香味的柔软厕纸了......




厕纸时代

擦屁股的革命



虽然中国人发明了纸,并率先将它用在屁股上。


但真正将厕纸推销到全球,并工业化生产的,是美国人盖耶蒂。


厕所爱迪生 —— 盖耶蒂


1857 年,盖耶蒂推出了第一款带包装的厕纸,随后各种品牌雨后春笋般的冒出,标志着厕纸时代的到来。



厕纸优点众多,完爆古人的所有方法,成为主流。



但厕纸终究还是没法把屁股完全擦干净!


我们的菊花周围有很多细小的褶皱,这些地方长期埋伏着陈年老屎,光靠厕纸的物理摩擦,很难清除。



请仔细观察这些褶皱


再加上现代人爱吃精粮,粗粮纤维摄入不足,导致大便巨粘,想把屁股擦干净,就更难了。


如果你执迷不悟的摩擦摩擦......


屁股会给你最狠的报复。



......


难道就没有一种完美的擦屁股方法吗?


有。


「温水冲洗,暖风烘干」




智能时代

屁股的福音



在擦屁股这件事上,日本人最终走在了世界的前面。


上世纪 80 年代,他们发明了智能马桶,一个围绕屁股的人体工程装置。


温水冲洗,暖风烘干,既能清理褶皱藏屎,也能安抚受伤的痔疮。


我们没接到广告


这是目前最健康的擦屁股方式,但只在少数发达国家普及。





人类与屁股的未来

会怎样呢?



脑洞一下,未来的「人与屁股」,会向两个方向发展。


一、把擦屁股变成享受。


未来,擦屁股会变成一场顶级的大保健,由泡沫去污、温水冲洗、护肛毛素保养、暖风除菌、精油按摩、放松舒展等一系列步骤组成。


这一切,全都由一台「超级智能马桶」完成,它还有个性化定制功能,提供最适合你的服务。


二、一秒就能擦好屁股。


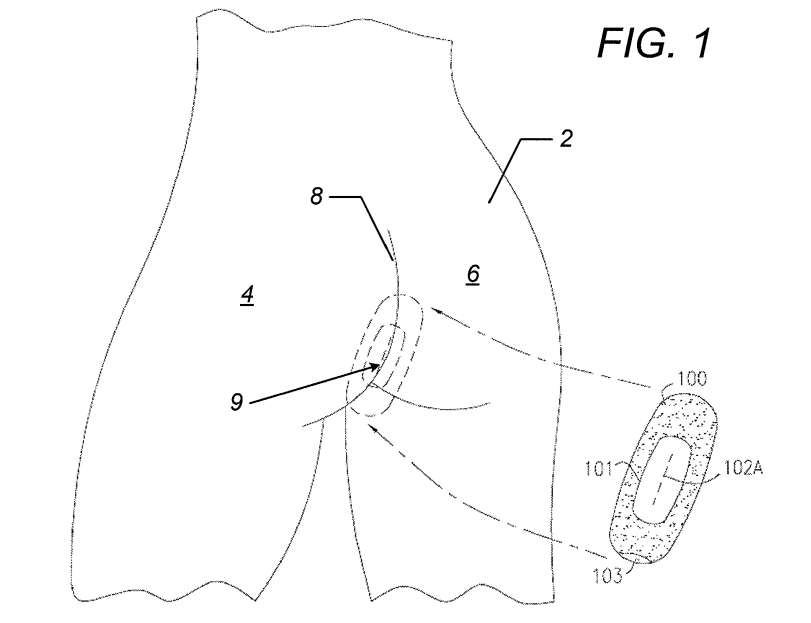
事前给菊花套一层保护膜,该膜紧贴皮肤,事后只需轻轻一撕,即可还原干净好屁股。


事实上,已经有人申请了类似的专利,有兴趣可以自行研究。


国际专利号:WO2011112269


其实,不管未来怎么变,有一件事始终不会变:


「你对屁股好,屁股也会对你好」。


因为它懂得回报。


从这个角度看,我们再怎么「伺候」屁股,都不为过~


毕竟,拥有一个健康的好屁股,是一辈子的福气。





本文审核专家



参考文献


[1] 理查德·史密斯.厕纸趣史[M].江西教育出版社:江西,2016.12:3-155.

[2] 朱莉·霍兰.厕神:厕所的文化史[M].上海人民出版社:上海,2018.4:277-290.

[3] 寄藤文平,藤田紘一郎.大便书[M].北方文艺出版社:哈尔滨,2008.10:62-65.



策划制作


策划:丁香四少杨大风

监制:feidi   |    封面图来源:站酷海洛



最近微信改版了,有读者说找不到我们的文章

大家记得把丁香医生设为星标🌟哦~



点击「阅读原文」,下载丁香医生 App

文章引用微信公众号"丁香医生",如有侵权,请联系管理员删除!

博客评论
还没有人评论,赶紧抢个沙发~
发表评论
说明:请文明发言,共建和谐网络,您的个人信息不会被公开显示。