【这一周】快钱再传被卖、数字人民币乘车码上线、刷脸刷掌新进展

2023-06-07 18:02   163   0  

这一周】为移动支付网打造的轻阅读栏目,关注移动支付行业一周热点,涵盖各大新技术创新应用领域等。点击标题】可直接阅读原文。

公安部:聚焦切断涉诈“资金链”

全国打击治理电信网络新型违法犯罪工作电视电话会议30日在京召开。


会议强调,要进一步深化行业治理。要认真贯彻落实反电信网络诈骗法,加大治理力度,堵塞监管漏洞,全力挤压涉诈违法犯罪活动空间。要聚焦切断涉诈“资金链”,出台更加严格的管理规定,督促金融机构完善异常账户和可疑交易监测机制,落实涉诈资金管控措施,努力实现被骗资金拦得住、追得回、返得了。


数字人民币乘车码上线

5月30日,数字人民币App悄然更新,优化使用体验的同时在“服务”栏目中新增了“乘车码”功能,目前暂已支持“杭州市、绍兴市”开通,具体支持杭州地铁、绍兴地铁、杭海城际。


这是数字人民币App首次更新“交通出行”服务,也是其首次正式在全国范围内实现交通出行场景应用。


刷脸支付新规将发布

5月23日,全国信息安全标准化技术委员会秘书处发布《网络安全标准实践指南——人脸识别支付场景个人信息保护安全要求(征求意见稿)》。


新规所针对的是室内外区域中的人脸识别支付场景,提出个人信息保护要求。不适用于用户在其自有手机或其他自有智能移动终端上进行的人脸识别支付。


刷掌支付再下一城

5月30日,马化腾的母校——深圳大学内部分食堂也上线了“刷掌支付”系统。


刷掌支付项目逐渐增加,让业界开始对这一新兴支付方式表达出不同的看法,有人为生物识别特征的敏感度而担忧,也有人期望新支付方式能进一步提高支付体验。在此,移动支付网基于对刷掌的观察,再来探讨一下刷掌支付的现在与未来。


传抖音接洽收购快钱支付

5月31日,据彭博社报道,万达集团计划以10亿元人民币出售旗下支付机构快钱支付清算信息有限公司,以缓解集团流动性压力,而潜在买家就包括字节跳动。该报道还称,从谈判情况来看,价格仍然有商议空间。


对此消息,移动支付网向字节跳动方面求证,相关人士回应表示所谓收购牌照的消息不实,目前只是初步接洽。


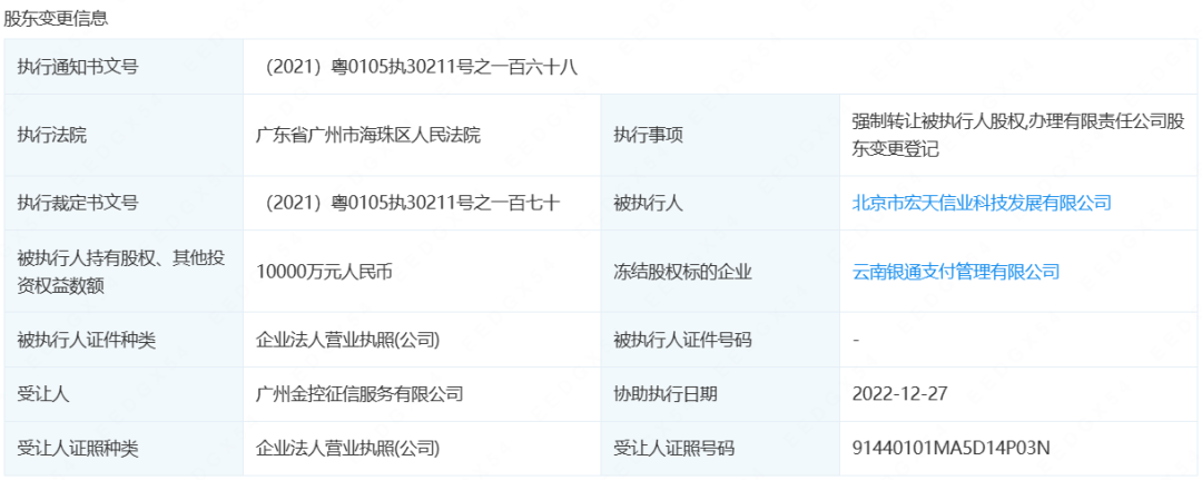
银通支付被强制转让股权

公开执行信息显示,一家持牌支付机构因母公司被法院执行,强制转让股权并办理有限责任公司股东变更登记。


银通支付成立于2009年,在2013年获得人民银行颁发《支付业务许可证》,获准在云南省开展预付卡发行与受理业务,其多用途预付卡品牌为“银通卡”。


银联借记卡交易份额首次超Visa

根据尼尔森公布的最新报告,2022年银联借记卡的交易份额首次超过了Visa。据悉,银联份额为40.03%,而Visa为38.78%。


同时,自2011年至2021年,Visa的借记卡交易市场份额从近80%下降到39.53%,而银联支付系统交易市场份额从近乎零增长到38.68%。2022年,美国支付系统的Visa银行卡交易额为141.09亿美元,而中国银联支付系统的银行卡交易额为162.27亿美元。


国台办:将制作台胞移动支付“懒人包”

5月31日消息,国台办举行例行新闻发布会,发言人朱凤莲指出,现在台胞反映的不便主要是由于部分台胞不熟悉、不了解所持银行卡与支付平台绑定程序等情况。


我们正在会同有关方面,梳理台胞申请大陆银行卡及绑定支付平台等情况,制作“懒人包”、小视频、宣传页,加大宣传力度,让台胞充分了解各种便利化服务,并不断优化解决使用中的具体问题。



江苏工信领域数字人民币方案发布

近日,江苏省工信厅印发《江苏省工业和信息化领域数字人民币试点实施方案》,提出在全省工信系统、工业和信息化领域重点企业和产业园区推广数字人民币应用,拓展数字人民币应用场景,赋能行业创新发展。 


力争到2025年实现数字人民币账户规上工业企业基本覆盖,工信领域首创性示范性应用场景数量在试点省份领先,打造一批智慧江苏建设试点示范项目,形成更多可复制可推广的试点经验。


潇湘支付变更实际控制人

人民银行官网于近日更新非银行支付机构重大事项变更许可信息公示,信息显示,人民银行同意湖南潇湘支付有限公司注册资本增加至2亿元,主要出资人变更为长沙市投资控股有限公司,长沙市政府通过长沙投控实际控制潇湘支付。


潇湘支付成立于2010年,原名为湖南星广传媒有限公司,原本属于长沙广播电视集团下属公司,2012年获得支付牌照,获准在湖南省范围开展预付卡发行与受理业务。


官宣!建信消金获批开业

5月31日,建行发布公告称,已收到监管批复,其控股子公司建信消费金融有限责任公司已获准开业。建行也在公告中强调,下一步将推动建信消金尽快开业运营。


早在2022年9月底,建行已经获得筹建建信消金的批复,约8个月之后,建信消金获得开业批复。建信消金将成为第31家消费金融公司。


深圳、香港交通支付互联互通

为方便深港两地公共交通出行,深圳通与支付宝、AlipayHK等公司合作升级深港交通支付互认功能,“一码通深港业务正式上线。


自2023年6月1日起,使用深圳通APP、AlipayHK APP(港版支付宝)或支付宝APP中任意一个APP,均可在深港两地扫码乘坐公交和地铁。



亚洲清算联盟将推新跨境金融结算系统

亚洲清算联盟将于6月推出新的跨境金融结算系统,作为环球银行间金融通信协会(SWIFT)系统的替代方案。


伊朗中央银行副行长卡里米称,新的结算系统能够完全取代环球银行间金融通信协会系统,并可推动全球去美元化进程。新系统将仅供亚洲清算联盟成员国使用,但其他国家也可以申请加入。


AlipayHK进军泰国市场

AlipayHK宣布,通过蚂蚁集团推出的Alipay+全球跨境数字支付和营销解决方案进军泰国。


用户在泰国见到「Alipay+」即可使用AlipayHK付款并享受优惠,首阶段率先接入泰国国际航空公司等大型商户。


东盟加强推动地区内支付互联互通

东盟成员国领导人近日宣布推动地区内支付互联互通,促进本币交易。


为促进区内支付互联互通,东盟领导人同意于2023年5月成立负责研究东盟本币交易框架的可行性、利益、挑战和实施方法的工作组。该组预计将在2024年底前提交报告和框架草案。


河源出台数字人民币试点工作方案

近日,河源市人民政府办公室印发了《河源市数字人民币试点工作方案》。


《工作方案》提出,有序扩大数字人民币在公共服务、零售消费、餐饮文旅、教育医疗等重点领域应用;在创新场景方面,结合河源特色产业,重点探索数字人民币在文旅消费、民生普惠等场景的特色化应用,力争到2024年底,形成服务便捷高效、应用覆盖面广、生态较为完善的数字人民币运营管理体系。


“数字欧元”原型设计摘要发布

欧洲中央银行(ECB)发布「数字欧元」原型设计工作结果摘要,报告显示,数字欧元可以顺利整合进现有的支付系统中。


同时该测试还确认,数字欧元原则上可以在在线和脱机工作,预计将在今年秋季试行推出数字欧元。


广西鼓励个人信用卡等短期消费金融业务

近日,广西银保监局办公室印发广西银行业保险业支持恢复和扩大消费若干措施的通知(桂银保监办发〔2023〕41号)。 


鼓励发展个人信用卡等短期消费金融业务,开发针对文旅等服务消费人群的金融产品,增强银行卡的消费服务和消费信贷功能,满足餐饮、娱乐、文旅、体育、康养、托育等接触型服务行业的复苏性消费信贷需求。


越南央行要求推进无现金支付

越南国家银行下发文件,要求各家银行、外国银行分行、支付中介服务商实施部分工作任务,旨在继续推进无现金支付。


国家银行要求各家银行、外国银行分行、支付中介服务商继续研究并对客户实施关于支付服务费、支付中介费等的优惠政策和计划,优先对享有社会保障政策的对象实施免除账户维护费、取现手续费。


江苏:优化农村支付环境

5月20日,江苏省政府发布《省政府关于全面推进农村金融创新发展的意见》,指出,提升农村基础金融服务水平。


鼓励各地增加对农村地区支付服务环境基础设施建设的资金投入,进一步优化ATM、POS机具布局。重点推广自助银行、网上银行、手机银行等现代化金融服务渠道,优化农村支付服务环境,提升农村支付服务水平。支持将数字人民币试点融入特色小镇、特色乡村建设,构建数字人民币应用生态。


天津地铁进行“人脸识别过闸”测试

5月29日,轨道交通集团透露,正不断升级智慧出行方式,丰富多渠道支付。


建立“天津地铁App”,支持二维码、爱心码、银行卡、手机Pay、数字人民币等多种智能方式,智能支付占比约70%,注册用户超过970万。目前正在进行“人脸识别过闸”内部测试,未来将全网应用。


数字人民币归入现金符合支付发展趋势

6月2日,中央财经大学中国互联网经济研究院副院长欧阳日辉在《经济日报》发表署名文章《数字人民币归入现金符合支付发展趋势》。


欧阳日辉指出,M0数字化符合我国支付发展趋势,并分析数字人民币纳入M0的政策含义,主要有以下三个方面。


文章引用微信公众号"移动支付网",如有侵权,请联系管理员删除!

博客评论
还没有人评论,赶紧抢个沙发~
发表评论
说明:请文明发言,共建和谐网络,您的个人信息不会被公开显示。