关联特大传销案,这家支付机构被强制转让股权

2023-06-07 18:02   150   0  

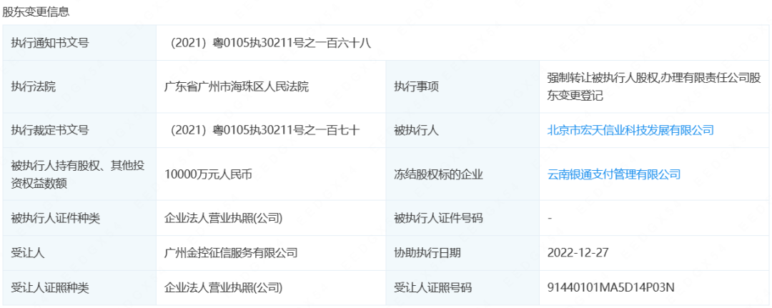
移动支付网消息:公开执行信息显示,一家持牌支付机构因母公司被法院执行,强制转让股权并办理有限责任公司股东变更登记。

据了解,云南银通支付管理有限公司(以下简称“银通支付”)原母公司为北京市宏天信业科技发展有限公司,再往前追溯则为广东云联国骥投资管理有限公司,而这些公司的实际控制人都是自然人黄明——“云联惠”特大网络传销案的主要作案人员。

根据公开信息,广州市海珠区人民法院早在2021年便对黄明等人组织、领导传销活动罪案件作出判决,判处黄明有期徒刑15年并处罚金及没收违法所得,对其他共同参与传销犯罪的多名主要同案人员分别判处有期徒刑2至7年,并处罚金。

法院审理查明的信息显示,2013年底至2014年初,黄明等人相继成立“云联国骥”“云联惠”等公司,运行“云联惠”“云联商城”等网络平台,以“消费全返”“消费共享”为名诱使他人注册成为会员,将发展会员数量作为计酬或返利依据,形成非法传销层级和链条,大肆谋取非法利益,严重扰乱市场经济秩序和社会管理秩序,情节特别严重,构成了组织、领导传销活动罪。

证据显示,云联惠会员不仅可以发展下线,下线还可以继续发展下线,以此组成传销人员链,以及按层计酬的传销收益体系。有信息显示,云联惠的有效会员达到896万余个,金字塔式层级架构达到整整119层。

官方报道介绍,“云联惠”与“善心汇”“钱宝”“善林金融”等案件都是全国性的重特大案件,也是公安部打击非法集资、网络传销、地下钱庄等系列犯罪中的典型案件。暴雷之前,“云联惠”官网披露的数据称其累计交易金额约为3300亿元。

该案件,银通支付等相关资产便被法院执行处置了。银通支付成立于2009年,在2013年获得人民银行颁发《支付业务许可证》,获准在云南省开展预付卡发行与受理业务,其多用途预付卡品牌为“银通卡”。

银通支付被强制转让股权后,成为广州金控数字科技有限公司旗下全资子公司。而后者是广州市属金融资产的核心国有金融控股平台广州金控的成员企业,银通支付也就此成为国有控股支付机构。

值得注意的是,按《非银行支付机构重大事项报告管理办法》规定,支付机构变更主要出资人需要向人民银行报告,并获批准。2022年10月,人民银行首次发布非银行支付机构重大事项变更许可信息公示,目前信息更新已截至2023年4月,然而股权变更发生于2022年12月的银通支付并未在列。对此,或许有两种可能。一是银通支付实际的股权变更可能发生在更早前,重大事项公布制度尚未落实;二是银通支付股权变更牵涉到重大刑事案件,因此密而不发,比如传化支付及其母公司因配合地方政府处置浙江易士风险事件,人民银行就曾延缓公告相关信息。

有兴趣加入支付服务商微信交流群,请加群主微信:mpaypass01,备注公司+姓名+职务+代理商入群。

文章引用微信公众号"移动支付网",如有侵权,请联系管理员删除!

博客评论
还没有人评论,赶紧抢个沙发~
发表评论
说明:请文明发言,共建和谐网络,您的个人信息不会被公开显示。